純正部品オーダーシステム
HOME

■純正部品

 > 

ヤマハ

 > 

VX スポーツ

 > 
VX スポーツ 2012 F2NS
  • メンテナンス / 純正OEM

    メンテナンス / 純正OEM

  • パーツ&アクセサリー

    パーツ&アクセサリー

  • シリンダー

    シリンダー

  • クランクケース

    クランクケース

  • クランクシャフト、ピストン

    クランクシャフト、ピストン

  • バルブ

    バルブ

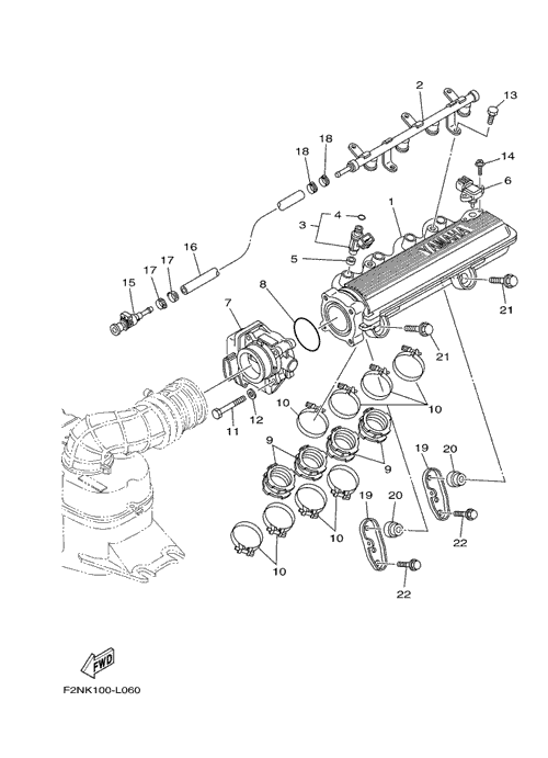
  • インテーク

    インテーク

  • インテーク2

    インテーク2

  • オイルポンプ

    オイルポンプ

  • オイルクーラー

    オイルクーラー

  • エキゾースト1

    エキゾースト1

  • エキゾースト2

    エキゾースト2

  • ジェットユニット

    ジェットユニット

  • ジェットユニット2

    ジェットユニット2

  • ゼネレーター

    ゼネレーター

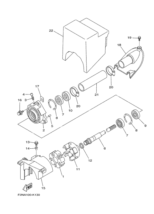
  • スターティングモーター

    スターティングモーター

  • エレクトリカル1

    エレクトリカル1

  • エレクトリカル2

    エレクトリカル2

  • エレクトリカル3

    エレクトリカル3

  • エンジンマウント

    エンジンマウント

  • エンジンハッチ1

    エンジンハッチ1

  • エンジンハッチ2

    エンジンハッチ2

  • ハル、デッキ

    ハル、デッキ

  • ガンネル、マット

    ガンネル、マット

  • ベンチレーション

    ベンチレーション

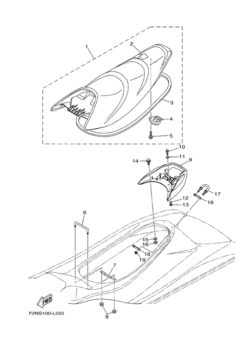
  • シート、アンダーロッカー

    シート、アンダーロッカー

  • フューエルタンク

    フューエルタンク

  • エキゾースト4

    エキゾースト4

  • コントロールケーブル

    コントロールケーブル

  • ステアリング1

    ステアリング1

  • ステアリング2

    ステアリング2

  • グラフィック

    グラフィック

  • ラベル

    ラベル

  • リペアキット1

    リペアキット1

ページトップへ