メンテナンス / 純正OEM
パーツ&アクセサリー
シリンダヘッド
シリンダヘッドカバー
シリンダ, ピストン
エアクリーナ
マフラ
バルブ
カムシャフト, テンショナ
クランクシャフト
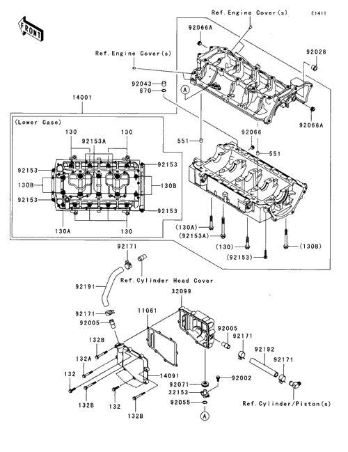
クランクケース
エンジンカバー
オイルパン
スロットル
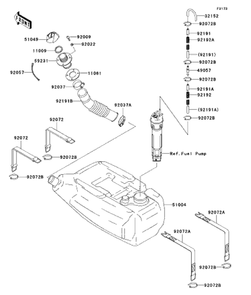
フューエルポンプ
フューエルインジェクション
オイルポンプ
ゼネレータ
イグニッションシステム
スタータモータ
クーリング
ドライブシャフト
ジェットポンプ
ハル
ハル フロント フィッティング
ハル ミドル フィッティング
ハル リヤ フィッティング
エンジンマウント
ビルジシステム
シート
パッド
ハンドルポール
ハンドルバー
フューエルタンク
ケーブル
メータ
船体電装品
オーナーズツール
ラベル
デカール(レッド)
デカール(ホワイト)