純正部品オーダーシステム
HOME

■純正部品

 > 

ヤマハ

 > 

F60

 > 
F60C 2005 6C51-EHT
  • トップカウリング

    トップカウリング

  • シリンダ, クランクケース1

    シリンダ, クランクケース1

  • クランクシャフト, ピストン

    クランクシャフト, ピストン

  • シリンダ, クランクケース2

    シリンダ, クランクケース2

  • バルブ

    バルブ

  • インテーク1

    インテーク1

  • インテーク2

    インテーク2

  • フュエルインジェクションポンプ1

    フュエルインジェクションポンプ1

  • フュエルインジェクションポンプ2

    フュエルインジェクションポンプ2

  • オイルポンプ

    オイルポンプ

  • フュエル

    フュエル

  • ゼネレータ

    ゼネレータ

  • エレクトリカル1

    エレクトリカル1

  • エレクトリカル2

    エレクトリカル2

  • エレクトリカル3

    エレクトリカル3

  • エレクトリカル4

    エレクトリカル4

  • エレクトリカル5

    エレクトリカル5

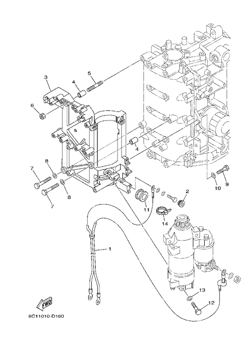
  • スターティングモータ

    スターティングモータ

  • ボトムカウリング1

    ボトムカウリング1

  • ボトムカウリング2

    ボトムカウリング2

  • ステアリング

    ステアリング

  • ステアリングフリクション

    ステアリングフリクション

  • コントロール

    コントロール

  • ブラケット2

    ブラケット2

  • ブラケット3

    ブラケット3

  • パワートリム,チルトアセンブリ1

    パワートリム,チルトアセンブリ1

  • パワートリム,チルトアセンブリ2

    パワートリム,チルトアセンブリ2

  • アッパーケーシング

    アッパーケーシング

  • オイルパン

    オイルパン

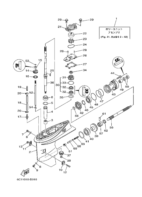
  • ロワーケーシング, ドライブ1

    ロワーケーシング, ドライブ1

  • ロワーケーシング, ドライブ2

    ロワーケーシング, ドライブ2

  • ステアリングガイド

    ステアリングガイド

  • オプショナルパーツ

    オプショナルパーツ

  • リペアキット1

    リペアキット1

  • リペアキット2

    リペアキット2

ページトップへ