純正部品オーダーシステム
HOME

■純正部品

 > 

ヤマハ

 > 

F25

 > 
F25A 2007 65W7-WH
  • トップカウリング

    トップカウリング

  • シリンダ&クランクケース1

    シリンダ&クランクケース1

  • クランクシヤフト&ピストン

    クランクシヤフト&ピストン

  • シリンダ&クランクケース 2

    シリンダ&クランクケース 2

  • バルブ

    バルブ

  • インテーク

    インテーク

  • キャアブレタ

    キャアブレタ

  • オイルポンプ

    オイルポンプ

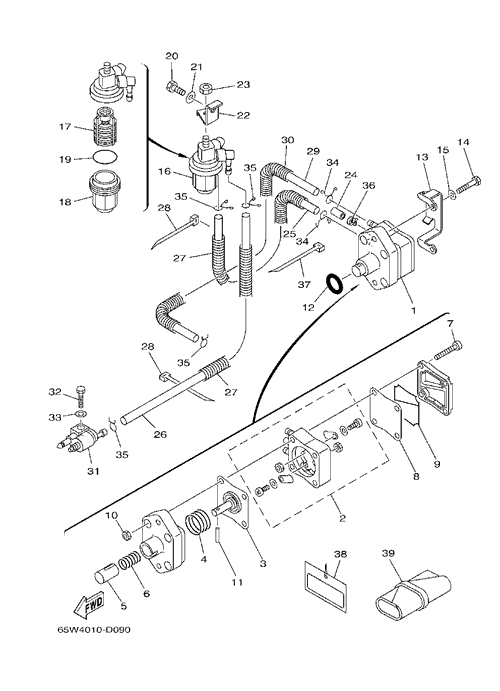
  • フュエル

    フュエル

  • スタータ

    スタータ

  • ゼネレータ

    ゼネレータ

  • エレクトリカル 1

    エレクトリカル 1

  • エレクトリカル 2

    エレクトリカル 2

  • エレクトリカル 3

    エレクトリカル 3

  • スターティングモータ

    スターティングモータ

  • ボトムカウリング

    ボトムカウリング

  • ステアリング

    ステアリング

  • ステアリングフリクション

    ステアリングフリクション

  • コントロール

    コントロール

  • リモコンアタッチメント

    リモコンアタッチメント

  • ブラケット 1

    ブラケット 1

  • ブラケット 3

    ブラケット 3

  • アッパーケーシング

    アッパーケーシング

  • オイルパン

    オイルパン

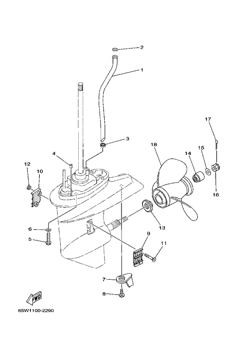
  • ロワーケーシング&ドライブ1

    ロワーケーシング&ドライブ1

  • ロワーケーシング&ドライブ2

    ロワーケーシング&ドライブ2

  • リペアキット 1

    リペアキット 1

  • リペアキット 2

    リペアキット 2

  • リペアキット 3

    リペアキット 3

ページトップへ