純正部品オーダーシステム
HOME

■純正部品

 > 

ヤマハ

 > 

F30

 > 
F30A 2005 69H5-WHD
  • トップカウリング

    トップカウリング

  • シリンダ, クランクケース1

    シリンダ, クランクケース1

  • クランクシャフト, ピストン

    クランクシャフト, ピストン

  • シリンダ, クランクケース2

    シリンダ, クランクケース2

  • バルブ

    バルブ

  • インテーク

    インテーク

  • キャブレタ

    キャブレタ

  • オイルポンプ

    オイルポンプ

  • フュエル

    フュエル

  • スタータ

    スタータ

  • ゼネレータ

    ゼネレータ

  • エレクトリカル1

    エレクトリカル1

  • エレクトリカル2

    エレクトリカル2

  • エレクトリカル4

    エレクトリカル4

  • スターティングモータ

    スターティングモータ

  • ボトムカウリング

    ボトムカウリング

  • ステアリング

    ステアリング

  • ステアリングフリクション

    ステアリングフリクション

  • コントロール

    コントロール

  • ブラケット1

    ブラケット1

  • ブラケット3

    ブラケット3

  • アッパーケーシング

    アッパーケーシング

  • オイルパン

    オイルパン

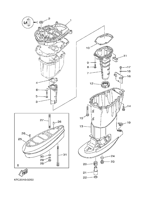
  • ロワーケーシング, ドライブ1

    ロワーケーシング, ドライブ1

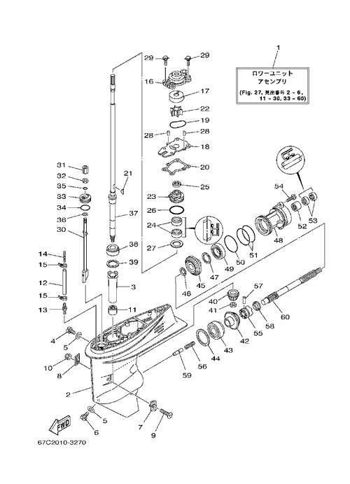
  • ロワーケーシング, ドライブ2

    ロワーケーシング, ドライブ2

  • ステアリングガイド

    ステアリングガイド

  • リペアキット1

    リペアキット1

  • リペアキット2

    リペアキット2

  • リペアキット3

    リペアキット3

ページトップへ