純正部品オーダーシステム
HOME

■純正部品

 > 

ヤマハ

 > 

FT50

 > 
FT50B 2003 64J2
  • トップカウリング

    トップカウリング

  • シリンダ, クランクケース1

    シリンダ, クランクケース1

  • クランクシャフト, ピストン

    クランクシャフト, ピストン

  • シリンダ, クランクケース2

    シリンダ, クランクケース2

  • バルブ

    バルブ

  • インテーク

    インテーク

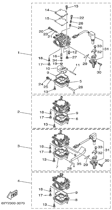
  • キャブレタ

    キャブレタ

  • オイルポンプ

    オイルポンプ

  • フュエル

    フュエル

  • ゼネレータ

    ゼネレータ

  • エレクトリカル1

    エレクトリカル1

  • エレクトリカル2

    エレクトリカル2

  • エレクトリカル3(EHD,EHT仕様)

    エレクトリカル3(EHD,EHT仕様)

  • スターティングモータ

    スターティングモータ

  • ボトムカウリング

    ボトムカウリング

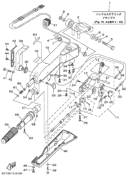
  • ステアリング(EHD,EHT仕様)

    ステアリング(EHD,EHT仕様)

  • コントロール

    コントロール

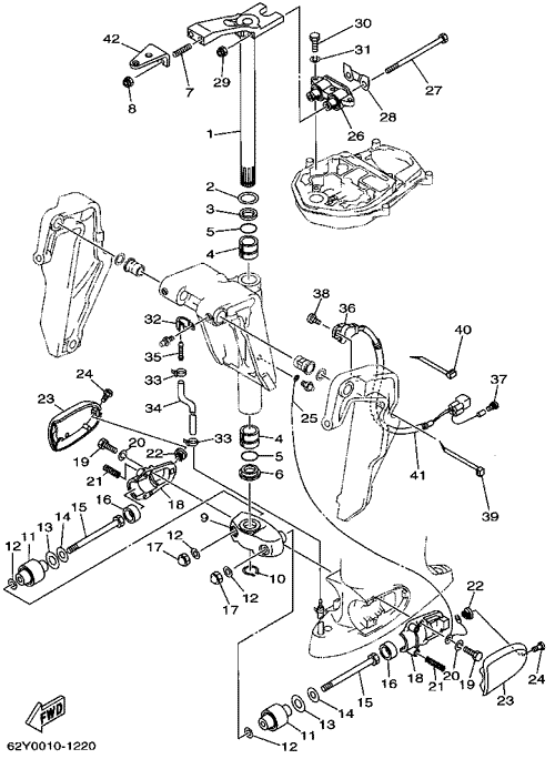
  • ブラケット1(EHD仕様)

    ブラケット1(EHD仕様)

  • ブラケット2(ET,EHT仕様)

    ブラケット2(ET,EHT仕様)

  • ブラケット3

    ブラケット3

  • パワートリム, チルトアセンブリ2

    パワートリム, チルトアセンブリ2

  • パワートリム, チルトアセンブリ3

    パワートリム, チルトアセンブリ3

  • アッパーケーシング

    アッパーケーシング

  • オイルパン

    オイルパン

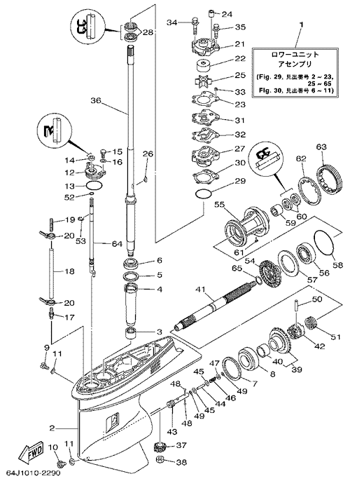
  • ロワーケーシング, ドライブ3

    ロワーケーシング, ドライブ3

  • ロワーケーシング, ドライブ4

    ロワーケーシング, ドライブ4

  • ステアリングガイド

    ステアリングガイド

  • リペアキット1

    リペアキット1

  • リペアキット2

    リペアキット2

  • リペアキット4

    リペアキット4

ページトップへ